有源RFID系統中可靠通信的研究
引言
現代生活中越來越多地借助電子技術來完成信息的查詢,常見的技術主要是條形碼技術和RFID(radio frequency identification)技術。條形碼技術廣泛應用,但局限性也非常突出,如:條碼標簽的內容無法修改,條碼標簽必須清潔無磨損,閱讀器讀/寫條碼時應保持適當角度,閱讀器與條形碼之間必須可視。RFID是射頻識別的簡稱,它是一種非接觸式的自動識別技術,其利用無線電技術在讀寫器和電子標簽之間建立通信,實現無接觸信息傳遞,并通過所傳遞的信息達到識別目的。現在RFID技術已被廣泛應用于生產、物流、交通、醫療、跟蹤等應用領域的數據收集和處理。RFID技術的優勢則較為突出,如:標簽信息可修改,能在惡劣的環境下較遠距離進行讀取,可同時處理多個標簽。
根據實現的方式不同,RFID技術可分為無源RFID技術和有源RFlD技術。無源RFlD技術研究和應用都較為成熟,系統中電子標簽工作所需要的全部電源都依靠轉換接收到的讀寫器發送的電磁波而獲得。讀寫器的發射功率一般較大。有源RFID技術系統中的電子標簽具備電池,可提供全部器件工作的電源;讀寫器的發射功率要求較低,而且有效閱讀距離也較前者有所增加,在追蹤和識別高價值商品時非常有用。
l 有源RFID系統的設計
1.1 系統結構
有源RFID系統由有源電子標簽(tag)、讀寫器(reader)和計算機3部分組成;有源電子標簽由耦合元件及芯片組成,每個標簽具有惟一的電子編碼(EPC),保存有約定格式的電子數據;讀寫器讀取電子標簽信息的設備,可設計為手持式或固定式;計算機(上位機)用來進行數據管理和數據處理,其系統結構如圖1所示。

在實際應用中,讀寫器發送出一定頻率的射頻信號,附在待識別物體表面中電子標簽接收射頻信號后,執行相應動作。通常讀寫器與計算機相連,電子標簽回送的信息被讀寫器讀取解碼后送至計算機進行下一步處理,從而達到自動識別體的目的。
1.2 硬件設計
RFID系統依照不同的標準,可以分為不同的類型。根據RFID系統使用的工作頻率可分為4類:低頻(LF,30~300 kHz)、高頻(HF,3~30 MHz)、超高頻(UHF,300~968 MHz)和微波(UWF,2.4~5.8 GHz)。根據文獻以及對不同頻段RFID系統優缺點的分析比較,再結合課題的要求,能在50 m范圍內自動監測標簽,并能讀寫數據,選用工作頻率為2.4 GHz的微波頻段的RFID系統進行研究。2.4 GHz頻率具有衰減較小,傳輸距離遠.傳輸數據快,數據吞吐量高,識別多目標能力強的特點。同時,2.4 GHz的ISM頻段寬度超過83 MHz,具有12[FS:PAGE]5個頻道,能滿足多頻及跳頻的需要,增加無線通信的抗干擾能力。
有源電子標簽和讀寫器主芯片選用德州儀器公司的CC2510。該器件包含了高性能、低功耗的8051微控制器(MCU)和UHF RF收發器,集成了32 KB在系統可編程FLASH和內嵌4 KB SRAM,并具有功率放大器(PA)、低噪聲放大器(LNA)、調制解調器(MODEM)等功能,QLP封裝,體積小(6 mm×6 mm),支持流行的跳頻技術,可程序控制數據傳輸率大小,最快能夠使數據傳輸率達到500 Kb/s。在系統中使用CC2510,具有功耗小,成本低,外圍電路簡單可靠等優點。此外,CC2510可設置的跳頻通信方式、發射功率和存儲程序,可以實現頻率更改、讀寫距離控制和多種安全協議,以適用于多種安全級別。
有源電子標簽由CC2510無線收發及控制模塊和天線組成。通過電磁波與讀寫器進行數據交換。讀寫器由CC2510無線收發及控制模塊、天線、USB接口轉換模塊和接口電路組成。讀寫器通過USB接口與上位機相連,用來接收有源電子標簽發送的數據。
1.3 軟件設計
在整個有源RFID系統中軟件起到控制作用,是協調硬件各部分的靈魂。主要涉及到PC機的人機界面接口和RFID系統軟件設計、PC機與讀寫器的通信軟件設計、讀寫器射頻與有源電子標簽射頻的通信軟件設計。
PC機端軟件主要對RFID系統數據庫進行管理,使用C"編制,數據庫采用SQL Setver 2005。PC機通過接口電路對讀寫器進行操作。該部分使用VB編制。讀寫器與標簽之間的數據通信則采用標準C語言和匯編混合編制。在單片機中類似PC機與單片機的通信軟件設計敘述很多,在此不再贅述。本文重點講述讀寫器與有源電子標簽可靠通信的設計了研究。
2 可靠通信研究
在有源RFID系統中,可靠通信是最重要的一個環節,幾乎左右了整個系統的性能。這里分別從幀標識替換算法,數據幀結構、防沖突處理和重傳機制等4個方面對數據可靠通信進行了研究。
2.1 幀標識替換算法
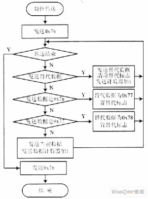
在通信協議中采用Ox76(0x表示16進制計數)作為幀標識符。為了保證幀標識符的惟一性,對幀內容中的Ox76采用了替代算法,使幀中的內容不再出現Ox76,解決了接收端的同步問題,亦可提高接收的可靠性。如果發送的數據為0x76,則用Ox77,Ox77兩個字節替代;如果發送的數據為Ox77,則用Ox77,0x78兩個字節替代。算法流程如圖2所示。

2.2 數據幀結構
讀寫器對標簽的操作為讀/寫,電子標簽器件內建有MCU和FLASH,可以存儲比較復雜的程序,并由程序控制標簽工作。為了加強有源RFID系統結構的簡單性和高效性,對指令格式進行規格化[FS:PAGE],對數據幀格式的設計亦采用簡單和固定的規格,以提高通信效率。
在通信時,數據的幀格式如下:

引導區包含導言、同步字,在信道特性較好的場合,為提高識別速度,可設定16位的導言與16位的同步字。校驗區通過CRC算法進行校驗,引導區和校驗區由CC2510硬件自動添加,在接收時由硬件自動去除。該設計中,地址區用于電子標簽的識別,命令區中的命令用于完成數據查詢功能或完成標簽信息的生成。數據區用于數據凈荷存儲。在發送模式下,地址區、命令區和數據區的數據被送入RAM中的緩存區進行相應的打包操作,CC2510添加4字節的導言和同步字,加入CRC校驗并發送出去。在接收模式時,包處理支持將會分解數據包,即首先進行同步字檢測,接著檢測地址、進行數據長度匹配并計算和檢查CRC,最后將操作命令和數據凈荷提交上層進行處理,從而完成1次發送和接收交互。
相關文章
一種用于醫療無菌手套自動分配的RFID解決方案
一臺具備RFID功能的機器使醫務人員能夠用ID卡輕靠設備,戴上尺寸合適的手套,從而降低感染風險。在日常工作中,丁腈手套是醫護人員最常用的消耗工具之一,可確保他們在不傳播感染的情況下治療患者。根據德克薩斯醫療技術公司(Texas...
如何提升超高頻RFID多標簽的讀取率?
在RFID的實際應用中,常常有要求同時讀取大量標簽的情況,比如對倉庫貨物數量的盤點,圖書館場景中對館藏圖書數量的盤點,也包括傳送帶或托盤上數十個乃至上百個貨物標簽的讀取情況。針對多數貨物讀取的情形,根據其被讀取成功的概率稱作讀...
智慧食品安全新紀元中的RFID和供應鏈數字化
去年,FDA(美國食品和藥物管理局)發起了一項新的前瞻性運動,以推動供應鏈現代化的長期采用和行業共識。“智慧食品安全新紀元”計劃是通過文化的漸進式變革、新技術的普及和互操作標準的清晰化,朝著建立一個以技術為基礎的食品體系邁出的...
RFID機場智慧消防物聯網解決方案
當前信息化時代的大背景下,智慧消防建設率先在機場、文保單位、軌道交通等重點領域進行建設,此類場所消防工作極為重要,人口集中,且人口流量大,另外像油、電、氣等能源的應用,對消防工作更是提出了更為嚴苛的要求。機場智慧消防物聯網...